Yet another vintage
Soviet magazine with a yellow-red cover and the giant LENIN quote. Not the best possible design ever, let's turn over the cover.
In this article my attention has been drawn to the unusual transmitter with the sounding name "Иккльз-Мени", but the article is very interesting itself as it gives us the ability to imagine the Ham Radio life in several European countries at that time.
I tried to translate it as close to the original, but keep in mind that this article has been translated several times before – Russian translation after the German article and, I suspect that that German publication has been translated from the French source.
In this article my attention has been drawn to the unusual transmitter with the sounding name "Иккльз-Мени", but the article is very interesting itself as it gives us the ability to imagine the Ham Radio life in several European countries at that time.
I tried to translate it as close to the original, but keep in mind that this article has been translated several times before – Russian translation after the German article and, I suspect that that German publication has been translated from the French source.
In the following article we'll present some excerpts from the “QSL” chapter of the Radio für alle magazine, which focused on QRP transmitters (January issue, 1927). Author of the cited article offers some practical data on the: 1). Circuit; 2). Tubes; 3). Coils; 4). Condensers; 5). Ammeters; 6). Power supplies; 7). Aerial; 8). Wavelength; 9). Wave stability.
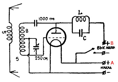
The most transmitters utilizes the following circuits::
designs:
a)
Push-Pull by “Иккльз-Мени” (I
believe that that circuit is a Push-Pull variation of the famous
Armstrong (Meissner) design – tank in the grid circuit unity
coupled to the anode coil, which acts as a tickler – quite
recognizable. So that it is possible that the second Russian word
"Мени" (sounds like "Menie" or "Meny")
can be a French pronouncing of Austrian name "Meissner".
The first one, “Иккльз”, should be W. H. Eccles, I sure (de UU1CC)).
This circuit is used
with a great success by French radio-amateurs, which are utilizes pair of
common receiver vacuum tubes with 100-150 volts plate voltage.
Tested
winding for the 40m wavelength: Antenna link L1 - 3 turns, 16cm
diameter; Plate coil L2 - 12 turns, 15cm; Tank L3 – 8 turns, 13cm.
All coils has 1cm spacing between the turns, utilizes the same 2mm
wire and are placed inside each other.
b)
“Three-point” (трёхточка) by Hartley with a trap LC,
tuned to the very same wavelength as the tank circuit:
c)
Meissner design with a grid feedback:
German tubes, described in the article are more
or less in line with our samples (“Micro”, “R-5”, “Ж”)
With such a low power it is necessary to pay a strong attention to the
losses, trying to reduce ones as much as possible. For this reason
the coils should be made of silver-plated copper wire, and, it is
preferable, air-wound.
Almost
any variable capacitor can be used in the QRP transmitter. In order
to reduce losses, the rotor contact should be revised. Author has
advised to remove every second rotor and stator plate. Converted that
way condenser has a small initial capacitance and smooth action.
The
antenna current should be measured using the thermocouple RF ammeter,
but if that one is unavailable, it is possible to use a common
flashlight bulb in the following circuit:
The
battery current in that circuit should be adjusted using the rheostat
so that the filament glow red. It is tested that even such a small RF
current change as 0,002A can be easily observed.
The
meters wastes part of the RF power and should be used only during the
tuning.
There
is nothing special about the QRP power supplies – almost any power
supply should be used. For the filaments – storage batteries, for
the plate – dry cells, storage batteries or rectifier, depend on
power consumption.
The
QRP transmitter can be used with a short resonant (“natural wave”)
antenna as well as with a long harmonic one. If antenna is resonant
on the base wavelength, aerial itself as well as counterpoise should
be 6-12 meters long.
Right
choice of the working time as well as the wavelength is very
important, especially for the distant communications. In the
following table author placed practically tested wave and time data
for the several parts of the world (note that these data were valid
for the German station).
| Country | Time, M.E.Z. | Band | Wavelength |
| United States | 01.30-04.00 | 35-43 | 37 |
| Brazil | 22.00-23.30; 05.30-06.30 | 33-38 | 34 |
| New Zealand | 19.00-21.30; 05.00-08.00 | 30-34 | 33 |
| South Africa | 20.30-23.00 | 34 | 34 |
| Europe | 14.00-15.00;&17.00-20.30 | 33-44 | 40 |
Surely,
the wavelength stability has much more importance for the QRP
transmitters than for the powerful ones. The wavelength stability can
be greatly improved using a). the master-oscillator power-amplifier
circuit b). the crystal control in the grid circuit of the single
stage low-power transmitter.
Scanned source:








1 comment :
Very FB, Andy! 73, Lou VE3AWA
Post a Comment